Báo giá cửa thép chống cháy tại Vũng Tàu | Có kiểm định PCCC

Cửa thép chống cháy là gì?
Cửa thép chống cháy là dòng cửa được thiết kế đặc biệt để sử dụng trong trường hợp khẩn cấp khi cháy nổ, hỏa hoạn xảy ra. Loại cửa này được sản xuất từ tấm thép nguội mạ kẽm. Tùy vào độ dày cửa cũng như nguyên liệu sản xuất mà có thời gian chống cháy kéo dài từ 60P, 70P, 90P, 120P. Vì được sản xuất từ chất liệu thép chất lượng cao, có khả năng chịu va đập mạnh, chịu lực, chắc chắn, đồng thời có thể chống cháy, chống khói, cách âm, cách nhiệt.

Báo giá cửa thép chống cháy tại Vũng Tàu
| Hạng mục | LOẠI CỬA | Đơn giá (M2) |
| CỬA THÉP CHỐNG CHÁY EI70 (70 phút)
|
KHÔNG KIỂM ĐỊNH PCCC
|
1,700,000đ |
| CỬA THÉP CHỐNG CHÁY EI90 (90 phút) | KHÔNG KIỂM ĐỊNH PCCC | 1,820,000đ |
| CỬA THÉP CHỐNG CHÁY EI70 (70 phút)
|
CÓ KIỂM ĐỊNH PCCC | 2,310,000 |
| CỬA THÉP CHỐNG CHÁY EI90 (90 phút) | CÓ KIỂM ĐỊNH PCCC | 2,590,000 |
Báo giá hoàn thiện cửa thép chống cháy tại Vũng Tàu
| STT | DIỄN GIẢI | ĐVT | ĐƠN GIÁ (VNĐ) |
SỐ LƯỢNG | THÀNH TIỀN (VNĐ) |
| 1 | CỬA THÉP CHỐNG CHÁY EI90 (90 phút)
KHÔNG KIỂM ĐỊNH PCCC Cửa thép có cấu tạo như sau:
Sơn tĩnh điện hoàn thiện một màu |
(Bộ) KT: 900x2200mm
|
3,600,000 | 1 | 3,600,000 |
| Bản lề KP (4 cái/ bộ) | Cái | 200,000 | 1 | 200,000 | |
| Tay đẩy hơi NEO | Bộ | 500,000 | 1 | 500,000 | |
| Khóa tay gạt Huy Hoàng | Bộ | 700,000 | 1 | 700,000 | |
| TỔNG GIÁ TRỊ 1 BỘ | 5,000,000 | ||||
+ Giá chưa bao gồm thuế VAT 10%.
+ Bảng giá trên chưa bao gồm chi phí vận chuyển tùy khu vực (Miễn phí vận chuyển từ 4 bộ trở lên tại Biên Hòa – Đồng Nai)
+ Bảng giá trên chưa bao gồm phí nhân công lắp đặt hoàn thiện

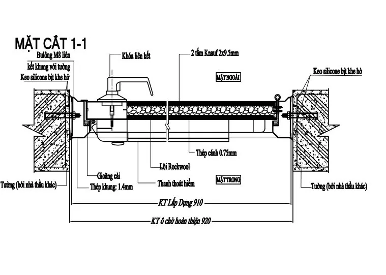
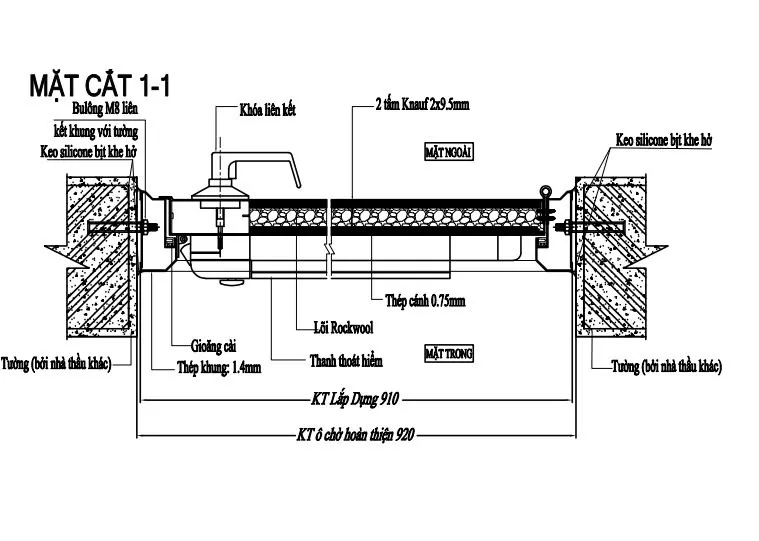
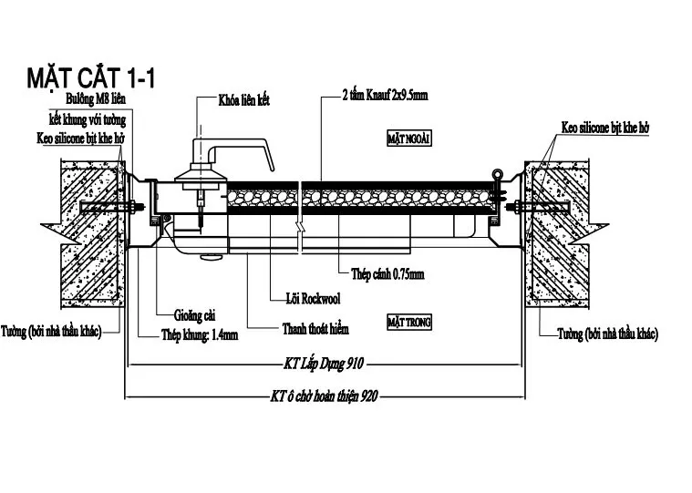
Cấu tạo cửa thép chống cháy không có kiểm định PCCC
CỬA THÉP CHỐNG CHÁY EI70 (90 phút)
Cửa thép chống cháy 70P có cấu tạo như sau:
- Khung thép dày 2mm, độ dày khung 50x110mm
- Độ dày cánh cửa: 45mm
- Hai mặt đối xứng, mỗi mặt được ốp bởi 01 tấm thép dày 8mm (2 mặt tổng chiều dày 1.6mm)
- Vật liệu trong cánh :Honeycom paper
- Sơn tĩnh điện hoàn thiện một màu
CỬA THÉP CHỐNG CHÁY EI90 (90 phút)
Cửa thép chống cháy 90P có cấu tạo như sau:
- Khung thép dày 2mm, độ dày khung 50x110mm
- Độ dày cánh cửa: 45mm
- Hai mặt đối xứng, mỗi mặt được ốp bởi 01 tấm thép dày 10mm (2 mặt tổng chiều dày 2.0mm)
- Vật liệu trong cánh :Honeycom paper
- Sơn tĩnh điện hoàn thiện một màu

Cấu tạo cửa thép chống cháy có kiểm định PCCC
CỬA THÉP CHỐNG CHÁY EI70 (70 phút)
Cấu tạo cửa như sau:
- Khung bao 🙁 50 x 110 ) mm Khung thép dày 4mm,
- Độ dày cánh cửa: 50mm
- Hai mặt đối xứng, mỗi mặt được ốp bởi 01 tấm thép dày 75mm (2 mặt tổng chiều dày 1.6mm)
- Vật liệu trong cánh :Mỗi mặt bên được bố trí 1 tấm thạch cao chống cháy dày 5mm,bên trong điền đầy bông đá Dragon rockwool
- Kích thước 1 cánh tối đa 1200x240mm
- Sơn tĩnh điện hoàn thiện một màu
CỬA THÉP CHỐNG CHÁY EI90 (90 phút)
Cấu tạo như sau:
- Khung thép dày 5mm, độ dày khung 50x110mm
- Độ dày cánh cửa: 50mm
- Hai mặt đối xứng, mỗi mặt được ốp bởi 01 tấm thép dày 95mm (2 mặt tổng chiều dày 1.9mm)
- Vật liệu trong cánh :Mỗi mặt bên được bố trí 1 MgO dày 0mm,bên trong điền đầy bông đá Dragon rockwool
- Kích thước 1 cánh tối đa 1200x240mm
- Sơn tĩnh điện hoàn thiện một màu
Đơn giá các phụ kiện đi kèm cửa thép chống cháy tại Vũng Tàu
Ưu điểm của cửa thép chống cháy an toàn
- Bảo vệ tài sản: Cửa thép chống cháy giúp ngăn chặn sự lan tỏa của đám cháy, bảo vệ tài sản được an toàn.
- Bảo vệ con người: cửa được trang bị khóa an toàn, dễ sử dụng và có khả năng chắn lửa và khói, giúp bảo vệ tính mạng của người dùng.
- Cách âm, cách nhiệt: còn có khả năng cách âm giúp giảm thiểu tiếng ồn và giữ cho không gian bên trong luôn mát mẻ.
- Chịu áp lực: giúp giữ cho nó vững chắc và không bị biến dạng trong trường hợp xảy ra cháy.
- Dễ sử dụng: do được thiết kế với các tính năng tiện ích như cơ chế khóa an toàn và các tay nắm dễ sử dụng để mở cửa.
- Độ bền cao, ít phải bảo trì bảo dưỡng
LIÊN HỆ BÁO GIÁ CỬA THÉP CHỐNG CHÁY TẠI VŨNG TÀU
Kingdoor có các cơ sở cửa hàng tại TPHCM quý khách có thể ghé xem mẫu cửa nhé
Showroom 1: 235 QL1K, Linh Xuân, Thủ Đức, Thành phố Hồ Chí Minh
Showroom 2: 639 QL13, Hiệp Bình Phước, Thủ Đức, Thành phố Hồ Chí Minh
Showroom 3: 671 Nguyễn Duy Trinh – Quận 2- TPHCM
Showroom 4: 602 Kinh Dương Vương, P. An Lạc, Quận Bình Tân Hồ Chí Minh
Showroom 5 : 10/1 Tô Ký, Thới Tam Thôn, Hóc Môn
Showroom tại Nha Trang: 489 đường 23/10, Vĩnh Hiệp, Nha Trang
☎Hotline: 0846.11.27.27
Website: cuagocongnghiep.net.vn
Fage: Cửa nhựa giá rẻ
XEM THÊM CÁC DÒNG CỬA KINGDOOR CUNG CẤP









