BÁO GIÁ CỬA THÉP CHỐNG CHÁY TẠI BIÊN HÒA – ĐỒNG NAI
Cửa thép chống cháy là loại cửa thuộc dạng đặc biệt, được sản xuất theo kết cấu mới nhất của PCCC yêu cầu, có tác dụng làm giảm thiệt hại khi xảy ra hỏa hoạn thông qua cơ chế ngăn cản sự phát triển của đám cháy sang các khu vực khác trong một khoảng thời gian nhất định, Qua đó hỗ trợ công tác di chuyển người và tài sản, hỗ trợ lực lượng phòng cháy chữa cháy khoanh vùng dập lửa nhanh.
Cửa thép chống cháy tại Biên Hòa – Đồng Nai được sử dụng các vị trí công trình như Khu chung cư cao tầng, khách sạn, trung tâm mua sắm, văn phòng, rạp hát, bệnh viện, trường học, nhà máy,…Những nơi cần thoát hiểm như cầu thang, sảnh,…
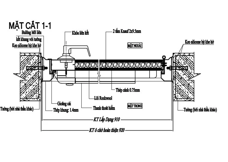
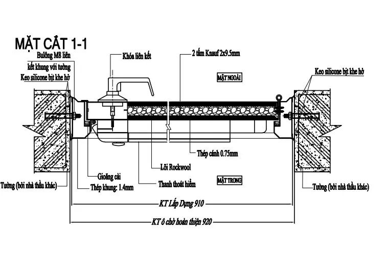
Thông tin về Cấu tạo cửa thép chống cháy
Cấu tạo cửa thép chống cháy không có kiểm định PCCC
CỬA THÉP CHỐNG CHÁY EI70 (90 phút)
Cửa thép chống cháy 70P có cấu tạo như sau:
- Khung thép dày 2mm, độ dày khung 50x110mm
- Độ dày cánh cửa: 45mm
- Hai mặt đối xứng, mỗi mặt được ốp bởi 01 tấm thép dày 8mm (2 mặt tổng chiều dày 1.6mm)
- Vật liệu trong cánh :Honeycom paper
- Sơn tĩnh điện hoàn thiện một màu
CỬA THÉP CHỐNG CHÁY EI90 (90 phút)
Cửa thép chống cháy 90P có cấu tạo như sau:
- Khung thép dày 2mm, độ dày khung 50x110mm
- Độ dày cánh cửa: 45mm
- Hai mặt đối xứng, mỗi mặt được ốp bởi 01 tấm thép dày 10mm (2 mặt tổng chiều dày 2.0mm)
- Vật liệu trong cánh :Honeycom paper
- Sơn tĩnh điện hoàn thiện một màu

Cấu tạo cửa thép chống cháy có kiểm định PCCC
CỬA THÉP CHỐNG CHÁY EI70 (70 phút)
Cấu tạo cửa như sau:
- Khung bao 🙁 50 x 110 ) mm Khung thép dày 4mm,
- Độ dày cánh cửa: 50mm
- Hai mặt đối xứng, mỗi mặt được ốp bởi 01 tấm thép dày 75mm (2 mặt tổng chiều dày 1.6mm)
- Vật liệu trong cánh :Mỗi mặt bên được bố trí 1 tấm thạch cao chống cháy dày 5mm,bên trong điền đầy bông đá Dragon rockwool
- Kích thước 1 cánh tối đa 1200x240mm
- Sơn tĩnh điện hoàn thiện một màu
CỬA THÉP CHỐNG CHÁY EI90 (90 phút)
Cấu tạo như sau:
- Khung thép dày 5mm, độ dày khung 50x110mm
- Độ dày cánh cửa: 50mm
- Hai mặt đối xứng, mỗi mặt được ốp bởi 01 tấm thép dày 95mm (2 mặt tổng chiều dày 1.9mm)
- Vật liệu trong cánh :Mỗi mặt bên được bố trí 1 MgO dày 0mm,bên trong điền đầy bông đá Dragon rockwool
- Kích thước 1 cánh tối đa 1200x240mm
- Sơn tĩnh điện hoàn thiện một màu
Báo giá cửa thép chống cháy tại Biên Hòa – Đồng Nai
| Hạng mục | LOẠI CỬA | Đơn giá (M2) |
|
CỬA THÉP CHỐNG CHÁY EI70 (70 phút)
|
KHÔNG KIỂM ĐỊNH PCCC
|
1,700,000đ |
| CỬA THÉP CHỐNG CHÁY EI90 (90 phút) |
KHÔNG KIỂM ĐỊNH PCCC |
1,820,000đ |
|
CỬA THÉP CHỐNG CHÁY EI70 (70 phút)
|
CÓ KIỂM ĐỊNH PCCC |
2,310,000 |
| CỬA THÉP CHỐNG CHÁY EI90 (90 phút) |
CÓ KIỂM ĐỊNH PCCC |
2,590,000 |

XEM THÊM BÁO GIÁ:
Giá cửa thép chống cháy tại Long An
Giá cửa thép chống cháy tại Bình Dương
Báo giá hoàn thiện cửa thép chống cháy tại Biên Hòa – Đồng Nai
| STT | DIỄN GIẢI | ĐVT | ĐƠN GIÁ (VNĐ) |
SỐ LƯỢNG | THÀNH TIỀN (VNĐ) |
| 1 |
CỬA THÉP CHỐNG CHÁY EI70 (70 phút) Cửa thép có cấu tạo như sau:
Sơn tĩnh điện hoàn thiện một màu |
(Bộ) KT: 900x2200mm
|
3,366,000 | 1 | 3,366,000 |
| Bản lề KP (4 cái/ bộ) | Cái | 200,000 | 1 | 200,000 | |
| Tay đẩy hơi NEO | Bộ | 500,000 | 1 | 500,000 | |
| Khóa tay gạt Huy Hoàng | Bộ | 700,000 | 1 | 700,000 | |
| Lắp đặt tại Biên Hòa – Đồng Nai | Bộ | 550,000 | 1 | 550,000 | |
| TỔNG GIÁ TRỊ 1 BỘ | 5,316,000 | ||||
+ Giá chưa bao gồm thuế VAT 10%.
+ Bảng giá trên chưa bao gồm chi phí vận chuyển tùy khu vực (Miễn phí vận chuyển từ 4 bộ trở lên tại Biên Hòa – Đồng Nai)
+ Bảng giá trên đã bao gồm phí nhân công lắp đặt hoàn thiện
Ưu điểm cửa thép chống cháy
- Chịu được nhiệt độ cao trong thời gian nhất định mà không bị biến dạng hay hư hỏng.
- Có khả năng cách nhiệt, giúp ngăn chặn sự lan truyền của nhiệt trong quá trình cháy.
- Có khả năng ngăn chặn khói và khí độc từ lan truyền trong quá trình cháy.
- Có thể có các lớp phủ chống cháy đặc biệt để tăng cường khả năng chịu lửa.
- Có thể được trang bị cơ chế tự động đóng mở trong trường hợp xảy ra cháy.
Cửa thép chống cháy cho nhà xưởng tại Biên Hòa- – Đồng Nai cua-thep-chong-cha-tai-bien-hoa-dong-nai
LIÊN HỆ BÁO GIÁ CỬA THÉP CHỐNG CHÁY TẠI BIÊN HÒA – ĐỒNG NAI
Kingdoor có các cơ sở cửa hàng tại TPHCM quý khách có thể ghé xem mẫu cửa nhé
Showroom 1: 235 QL1K, Linh Xuân, Thủ Đức, Thành phố Hồ Chí Minh
Showroom 2: 639 QL13, Hiệp Bình Phước, Thủ Đức, Thành phố Hồ Chí Minh
Showroom 3: 671 Nguyễn Duy Trinh – Quận 2- TPHCM
Showroom 4: 602 Kinh Dương Vương, P. An Lạc, Quận Bình Tân Hồ Chí Minh
Showroom 5 : 10/1 Tô Ký, Thới Tam Thôn, Hóc Môn
Showroom tại Nha Trang: 489 đường 23/10, Vĩnh Hiệp, Nha Trang
☎Hotline: 0846.11.27.27
Website: cuagocongnghiep.net.vn
Fage: Cửa nhựa giá rẻ
XEM THÊM CÁC DÒNG CỬA KINGDOOR CUNG CẤP








